- РАДИОПРИЕМНИКИ И РАДИОЛЫ
- ДЕТЕКТОРНЫЕ ПРИЕМНИКИ
- БАТАРЕЙНЫЕ ПРИЕМНИКИ ПРЯМОГО УСИЛЕНИЯ
- БАТАРЕЙНЫЕ СУПЕРГЕТЕРОДИНЫ
- СЕТЕВЫЕ СУПЕРГЕТЕРОДИНЫ
- СЕТЕВЫЕ ПРИЕМНИКИ ПРЯМОГО УСИЛЕНИЯ
- УСИЛИТЕЛИ К ДЕТЕКТОРНЫМ ПРИЕМНИКАМ
- РАЗЛИЧНЫЕ ЛАМПОВЫЕ И ТРАНЗИСТОРНЫЕ УСИЛИТЕЛИ
- УСИЛИТЕЛИ ДЛЯ МАГНИТОФОНОВ
- ВЫСОКОКАЧЕСТВЕННЫЕ ДВУХКАНАЛЬНЫЕ И СТЕРЕОФОНИЧЕСКИЕ УСИЛИТЕЛИ
- СХЕМЫ ОТДЕЛЬНЫХ КАСКАДОВ УСИЛИТЕЛЕЙ
- РАДИОУЗЛЫ И УСИЛИТЕЛИ ДЛЯ РАДИОФИКАЦИИ
- ПЕРЕГОВОРНЫЕ УСТРОЙСТВА И МИКРОФОННЫЕ УСИЛИТЕЛИ
"Радиолюбительские конструкции". М.-Л.: "Государственное энергетическое издательство", 1963. МРБ. Вып. 465.
Комментарии
РАДИОПРИЕМНИКИ И РАДИОЛЫ В
РАДИОПРИЕМНИКИ И РАДИОЛЫ
В главе содержится 207 аннотаций на разнообразные приемные устройства от детекторных до многоламповых приемников первого класса и радиол. Наибольшее внимание в истекшем пятилетии радиолюбители уделяли конструированию транзисторных приемников. За эти годы описано 50 транзисторных приемников различной степени сложности: прямого усиления и супергетеродинов. Следует отметить, что радиолюбители конструировали не только карманные транзисторные приемники, но и более фундаментальные настольные экономичные приемники для села. Заслуживают внимания приемники с комбинированным питанием для сельских местностей, где электростанции работают не круглые сутки. Такие приемники могут питаться от сети переменного тока и от батарей.
Среди комбинированных приемников есть магнитолы (сочетание приемника с магнитофоном) и такие сложные "радиокомбайны", в которых объединяются все виды бытовых радиоустройств: радиола, магнитофон и телевизор.
Учитывая, что некоторые типы автомобилей не снабжаются радиоприемниками, радиолюбители предложили радиоприемники для автомашин "Москвич" и "Победа".
В главе имеется также небольшой раздел радиол: всего 10 конструкций, опубликованных за 5 лет. В среднем это по две конструкции в год, что далеко не может нас удовлетворить.
В заключение отметим, что, несмотря на кажущееся обилие приемных конструкций, разработанных радиолюбителями и радиоклубами, перед радиолюбителями-конструкторами стоит еще много важных и интересных проблем. Необходимо улучшать качество звучания радиоприемников и радиол, создавать помехоустойчивые приемные устройства, работать над конструкциями приемников со стереофоническим звучанием и продолжать работу над созданием массовых транзисторных приемников для села.
В 1963 г. в Массовой радиобиблиотеке выйдет брошюра с описанием первого заводского транзисторного радиоприемника с УКВ диапазоном: "Минск-62". Эта брошюра должна дать толчок для работы над аналогичными любительскими конструкциями.
ДЕТЕКТОРНЫЕ
ДЕТЕКТОРНЫЕ ПРИЕМНИКИ
Детекторный приемник. С.И. Шапошникова.
Описание приемника впервые было опубликовано в журнале "Радиолюбитель" № 7 за 1924 г. под названием "Самодельный приемник с диапазоном волн от 330 до 1 500 м". В нем удачно сочетались хорошие электрические качества с простотой изготовления, благодаря чему он был широко распространен и до сих пор сохранился как учебное пособие в радиоклубах. Рассчитан на диапазон волн 300-1800 м. Настройка осуществляется с помощью ползункового переключателя, а плавная - вариометром (рис. 25 и 26).
Рис. 25. Схема приемника Шапошникова.
Рис. 27. Монтажная схема приемника Шапошникова
Источник: И.И. Спижевский и В.А. Бурлянд. Хрестоматия радиолюбителя, изд. 2-е, МРБ, 1957, Вып. 283, стр. 87.
Схемы с фиксированной настройкой.
Описания детекторных приемников на одну радиостанцию, на три станции с отдельными катушками, на три станции с отдельными конденсаторами и приемника с фильтром.
Источник: И.И. Спижевский и В.А. Бурлянд, Хрестоматия радиолюбителя, изд. 2-е, МРБ, 1957, Вып. 283, стр. 88-89.
Детекторные приемники
Подробные описания пяти детекторных приемников: с секционированной катушкой, с вариометром, с конденсатором переменной емкости, с настройкой металлом (металлическим диском) и с постоянной настройкой на одну местную радиостанцию.
В этой же главе книги даются советы по изготовлению панели и монтажу приемника, а так же описание некоторых самодельных деталей.
Источник: В.Г. Борисов. Юный радиолюбитель, МРБ, 1959, Вып. 330, Беседа десятая, стр. 55-67.
Детекторный приемник. И. Бек (Варшава).
Весьма популярный в Польше простейший детекторный приемник, выполненный полностью из самодельных деталей.
Источник: "Юный техник", 1960, 10, 68-69.
Практические схемы и конструкции детекторных приемников. А. М. Нефедов.
Рассматриваются особенности схем детекторных приемников, дается расчет колебательного контура и приводятся описания: приемника с фиксированной настройкой на одну станцию, приемника с фиксированной настройкой на несколько станций, приемника с настройкой вариометром, приемника с настройкой конденсатором переменной емкости. В качестве детектора во всех конструкциях можно применить любой точечный диод.
Источник: Книга сельского радиолюбителя, Изд. ДОСААФ, 1961, гл. 6, стр. 131-150.
БАТАРЕЙНЫЕ ПРИЕМНИКИ ПРЯМОГО
БАТАРЕЙНЫЕ ПРИЕМНИКИ ПРЯМОГО УСИЛЕНИЯ
Одноламповый радиоприемник.
Батарейный и сетевой варианты простого однолампового радиоприемника с пентодом: прием осуществляется на телефонные трубки.
В.Г. Борисов, Юный радиолюбитель, МРБ, Вып. 330, 1959, стр. 104-105.
Одноламповый радиоприемник с обратной связью.
Батарейный и сетевой варианты приемника, рассчитанного на прием радиостанций ДВ и СВ диапазонов.
В батарейном варианте применена лампа 1Б1П, а в сетевом - 6Ж8.
В.Г. Борисов, Юный радиолюбитель, МРБ, Вып. 330, Беседа семнадцатая, стр. 105-112.
Простейший сельский 0-V-1. Е. Марков.
Подробное описание дешевого и экономичного двухлампового приемника (рис. 27) с регулируемой обратной связью, работающего в диапазоне 200-2000 м. Используемые в приемнике лампы 2К2М, 2Ж2М или СО-241 могут применяться в любых сочетаниях. Приемник может работать также как одноламповый или детекторный.
Рис. 27
1. И.И. Спижевский и В.А. Бурлянд, Хрестоматия радиолюбителя, изд. 2-е, МРБ, 1957, Вып. 283, стр. 178-181.
2. Книга сельского радиолюбителя, Изд. ДОСААФ, 1961, стр. 165-169.
Самодельные батарейные радиоприемники.
Описание трех схем и конструкций батарейных приемников прямого усиления: с постоянной настройкой на одну местную станцию (лампы 1Б1П и 2П1П), походного (2 лампы 1К1П) и трехлампового (две 1К1П и 2П1П).
В.Г. Борисов, Юный радиолюбитель, МРБ, Вып. 330, 1959, Беседа двадцать первая, стр. 138-149.
Трехламповый приемник с постоянной обратной связью. В. Емельянов, и А. Нефедов.
Описание приемника, собранного по схеме 1-V-1. Диапазоны: 730-2000 и 200-570 м; лампы 1К1П (2 шт.) и 2П1П.
Книга сельского радиолюбителя. Изд. ДОСААФ, 1961, стр. 169-171.
Походный приемник. Н. Горюнов.
Подробное описание (с монтажной схемой) простого батарейного походного трехлампового (2 лампы 1К1П и 2П1П) приемника прямого усиления.
Приемник позволяет вести громкоговорящий прием передач одной радиостанции, работающей на длинных или средних волнах. Питание осуществляется от обычных батарей КБС для карманного фонаря: одна батарея для питания накала ламп и девять последовательно соединенных батарей (общее напряжение около 40 В) для питания анодных и экранных цепей. Даются варианты усовершенствования приемника.
"Радио", 1958, 4, 29-33 и на вкладке.
Простой батарейный приемник 2-V-2. В. Большов, Р. Сворень.
Приемник содержит два каскада усиления ВЧ (лампы 1К2П или 1П2П) и двухкаскадный усилитель НЧ на транзисторах П13А. Накал ламп приемника осуществляется от одной батареи «Сатурн», которой хватает на 100 ч. Лампы работают в приемнике при низком анодном напряжении: 9 В (две батарейки КБС для карманного фонаря). В статье дается подробное описание конструкции приемника и его налаживания, а также приводятся девять вариантов основной схемы.
Источник: «Радио», 1961, 3, 42-46.
Карманный приемник «Известия».
Миниатюрный экономичный приемник конструкции В. и А. Гонтарь собран на четырех лампах 06П2Б по схеме 2-V-1 и настроен на волну одной радиостанции (Киевской). Питание осуществляется от миниатюрных батарей.
Источник: Лучшие конструкции 12-й радиовыставки, Изд. ДОСААФ, 1957, стр. 150-156.
Трехламповый приемник с универсальным питанием. А. Нефедов.
Подробное описание (с монтажной схемой) приемника, собранного по схеме 1-V-1, предназначающегося для сельских местностей, где электростанция работает не круглосуточно. Во время работы электростанции его можно питать от сети переменного тока от двух селеновых выпрямителей: накального и анодного, имеющих общий силовой трансформатор, а когда электроэнергии нет - от батарей.
Диапазоны: 715-2000 и 200-500 м. Лампы 1К1П (2 шт.) и 2П1П.
Источник: Книга сельского радиолюбителя, Изд. ДОСААФ, 1961, стр. 171-176.
УСИЛИТЕЛИ К ДЕТЕКТОРНЫМ
УСИЛИТЕЛИ К ДЕТЕКТОРНЫМ ПРИЕМНИКАМ
Одноламповый усилитель к детекторному приемнику.
Батарейный и сетевой варианты усилителя с одной из следующих ламп: 1Б1П, 1Б2П, 1К1П, 1К2П, 2Ж2М, 2К2М, 2П1П в батарейном варианте и 6Ж8, 6Ж7, 6К7, 6Б8С (используется пентодная часть), 6К1П, 6Ж2П, 6С5С в сетевом варианте.
Источник: В.Г. Борисов, Юный радиолюбитель. МРБ, 1959, Вып. 330, стр. 100-102.
Транзисторные усилители для детекторных приемников.
Простейший усилитель с одним транзистором и двухкаскадный для громкоговорящего приема с двумя транзисторами. Во втором издании добавлены двухкаскадный усилитель с транзисторами типов р-n-р и n-р-n (рис. 59) и усилитель с трансформаторной связью.
В.К Лабутин, Простейшие конструкции на полупроводниковых триодах, МРБ, 1958, Вып. 297, стр. 24-29; МРБ, изд. 2-е 1960, Вып. 362, стр. 29-30.
РАЗЛИЧНЫЕ ЛАМПОВЫЕ И
РАЗЛИЧНЫЕ ЛАМПОВЫЕ И ТРАНЗИСТОРНЫЕ УСИЛИТЕЛИ
Усилительная приставка для звукоснимателя. В. Шевяков.
Приставка для радиоприемников второго класса, которые при воспроизведении не дают необходимой громкости. В ней используется только триодная часть лампы 6Г7. Питание подводится от соответствующих цепей приемника.
Ф.И. Тарасов, Схемы радио-любительских усилителей низкой частоты, МРБ, 1957, Вып. 264, стр. 5.
Простейший усилитель для радиограммофона. В. Лаптев.
Усилитель (лампа 6П9) с питанием от сети переменного тока. Выпрямитель однополупериодный на кенотроне 6Ц5С. Силовой автотрансформатор питания готовый от приемника "Москвич" или "АРЗ-49". Выходная мощность усилителя - около 2 Вт.
Ф.И. Тарасов, Схемы радиолюбительских усилителей низкой частоты, МРБ, 1957, Вып. 264, стр. 7-9.
Простой усилитель низкой частоты. В. Костиков.
Двухламповый (6Н2П и 6П14П) усилитель, позволяющий получить хорошее воспроизведение звука при достаточно большой выходной мощности (3,5 Вт).
"Радио", 1959, 7, 49-50.
Усилитель для проигрывателя.
Двухкаскадный усилитель с лампами 6Ж7 и 6П6С. Выпрямитель с кенотроном 5Ц4С. В схеме усилителя применен специальный фильтр для ослабления шума грампластинок. Выходная мощность усилителя 3 Вт.
Ф.И. Тарасов, Схемы радиолюбительских усилителей низкой частоты. МРБ, 1957, Вып. 264, стр. 9-13.
Двухламповый усилитель.
Одноваттный усилитель Р. Михайлова. Содержит два каскада усиления с лампами 6Ж7 и 30П1С и выпрямитель с кенотроном 30Ц1М. Питание от электросети осуществляется без силового трансформатора и дросселя фильтра.
Ф.И. Тарасов, Схемы радиолюбительских усилителей низкой частоты, МРБ, 1957, Вып. 264, стр. 15-19.
Усилитель низкой частоты. В. Большов, В. Фурин.
Двухкаскадный усилитель, в котором применены сетевые пальчиковые лампы. В первом каскаде используется лампа 6ЖЗП, а в выходном - пентод 6П14П. Оба каскада охвачены глубокой отрицательной обратной связью. Выходная мощность усилителя 3 Вт при коэффициенте нелинейных искажений менее 1 %. Для получения такой мощности напряжение сигнала на входе усилителя должно составлять 0,1 В.
Источник: «Радио», 1957, 4, 2-3.
Простой усилитель низкой частоты. Ю. Михайлов.
Трехкаскадный (6Н2П и две 6П14П) усилитель с раздельной регулировкой тембра. Схема его показана на рис. 60. Выходной каскад выполнен по двухтактной ультралинейной схеме. Мощность усилителя 6 Вт при входном напряжении 125 мВ. Питание осуществляется от выпрямителя.
Источник:
1. «Радио», 1958, 8. 45—47.
2. В.М. Большое, Радиолюбительские усилители низкой частоты, МРБ, 1961, Вып. 422, стр. 50-57.
Усилители НЧ без выходного-трансформатора. Л. Кононович.
Рассматривается работа последовательного двухтактного каскада и предлагаются описания трех практических схем бестрансформатных усилителей без фазоинверсного каскада на мощности 2, 6, и 7 Вт. Схема 2-ваттного усилителя показана на рис. 61.
Источник:
1. «Радио», 1959, 6, 41-44.
2. В.М. Большов, Радиолюбительские усилители низкой частоты, МРБ, 1961, Вып. 422, стр. 73-79.
Усилитель НЧ с клавишным переключателем. М. Давыдов.
Двухламповый (6Н2П, 6П14П) усилитель с тонрегистром на пять положений: «Оркестр», «Соло», «Речь», «Легкая музыка» и «Бас».
Источник:
1. «Радио», 1958, 8, 43-44.
2. В.М. Большов, Радиолюбительские усилители низкой частоты, МРБ, 1961, Вып. 422, стр. 47-50.
Простой усилитель НЧ. Г. Крылов.
Трехламповый (6Ж8, 6Н9С, 6Н5С) усилитель с выходной мощностью 4 Вт.
Источник: «Радио», 1961, 1, 53.
Усилители низкой частоты. В. Большов.
Описываются пять усилителей: простой двухламповый 3-ваттный усилитель НЧ (лампы 6Ж1П, 6П14П); двухтактный 10-ваттный усилитель (может быть использован в качестве оконечного усилителя для высококачественного звучания); высококачественный 12- 20-ваттный усилитель (схема на рис. 62 содержит два каскада: фазоинвертор и выходной каскад); простой 3-ваттный и двухканальный.
Источник:
1. «Радио», 1960, 7, 47-51.
2. В.М. Большов, Радиолюбительские усилители низкой частоты, МРБ, 1961, Вып. 422, стр. 60-62, 66-67 (Усилитель на 20 ватт и простой двухканальный усилитель).
Простой усилитель НЧ. Ю. Большое.
Несложный усилитель с лампами 6Ф1П и 6П14П в двухтактном выходном каскаде с выходной мощностью 10 Вт. Потребляемая мощность 60 Вт.
Источник: Приемники и усилители, Б-ка журнала "Радио", Вып. 5, Изд. ДОСААФ, 1959, стр. 20—27.
Усилитель низкой частоты.
Простой трехкаскадный (предварительный усилитель, фазоинвертор и выходной каскад) усилитель с лампами 6ЖЗП, 6Н1П и 6П14П с выходной мощностью 10 Вт. Питание осуществляется от полупроводникового выпрямителя.
Источник: В.М. Большов и Ю.М. Большов, Простые конструкции начинающего радиолюбителя, МРБ, 1959, Вып. 346, стр. 67-72.
Усилитель низкой частоты.
Несложный 10-ваттный усилитель с лампами 6ЖЗП, 6Н1П и 6П14П. Питание усилителя осуществляется от двухполупериодного полупроводникового выпрямителя.
Источник: В.М. Большов и Ю.М. Большов, Простые конструкции начинающего радиолюбителя, МРБ, 1959, Вып. 346, стр. 67-72.
Усилитель НЧ. В. Иванов.
Четырехкаскадный усилитель с лампами 6Н2П, 6Н1П, 6П14П (2 шт.), в котором применены отрицательные обратные связи по напряжению и положительная по току.
Выходной каскад усилителя выполнен по двухтактной ультралинейной схеме.
Источник:
1. "Радио", 1958, 11, 47-48.
2. "Радио", 1959, 2, 60 (Об изменениях в схеме с целью передачи на фоне музыки)
Усилители низкой частоты. С. Воробьев.
Описание трех усилителей нарастающей сложности и мощности, в основном предназначенных для воспроизведения грамзаписи: З-ваттного с лампами 6Ж8 и 6П6С; 8-ваттного с лампами 6Ж8, 6Н8С и 6П6С (2 шт.) и высококачественного усилителя с лампами 6Н1П (2 шт.) и 6П1П (2 шт.). На входе последнего усилителя применен компенсированный регулятор громкости.
Источник: В помощь радиолюбителю. Изд. ДОСААФ, 1959, Вып. 7, стр. 28-32.
Усилитель для радиограммофона с выходной мощностью 0,5 Вm.
Усилитель с транзисторами П13А (рис. 63). Питание осуществляется от двух последовательно включенных батареек карманного фонаря.
Источник: В.К. Лабутин, Простейшие конструкции на транзисторах, МРБ, 1960,Ввып. 362, стр. 41-44.
Усилитель низкой частоты на кристаллических триодах.
Трехкаскадный усилитель на полупроводниковых триодах с проводимостью типа р-п-р. Может быть использован для лроигрывания грампластинок или в качестве усилителя низкой частоты приемника. Пои подаче на вход усилителя сигнала 50 мВ его мощность на выходе достигает 0,5 Вт. Усилитель можно питать от батареи БАС-80-Х-1 и от сети переменного тока напряжением 127 и 220 В.
Источник: Ф.И. Тарасов, Схемы радиолюбительских усилителей низкой частоты, МРБ, 1957, Вып. 264, стр. 55-58.
Усилитель на одном и на двух транзисторах.
Краткое описание простых усилителей, в которых могут быть применены транзисторы П6А, П6Б, П6В или П13, П14 любой группы. Питание усилителей осуществляется от одной батарейки для карманного фонаря.
Источник: Книга сельского радиолюбителя, Изд. ДОСААФ, 1961, стр. 152-154.
Усилитель на полупроводниковых триодах. В. Фадин, В. Топтунов, К. Илларионов.
Описание УНЧ для высококачественного воспроизведения грамзаписи. В схеме УНЧ (рис. 64) использованы четыре транзистора.
Источник:
1. "Радио", 1959, 5, 46; 12, 57 (Режим триодов и намоточные данные).
2. В.М. Большов, Радиолюбительские усилители низкой частоты, МРБ, 1961, Вып. 432, стр. 98-100.
Усилитель НЧ на транзисторах для походного приемника. И. Василькевич.
В этом усилителе нет ни одного трансформатора. В схеме используются пять транзисторов (П14 -3 шт. и П10 - 2 шт.).Усилитель предназначен для работы в приемнике с громкоговорителей типа 1ГД-9. Усилитель обеспечивает воспроизведение частот в полосе от 200 Гц до 5 кГц.
Источник: "Радио", 1961, 12, 40.
Экономичный транзисторный усилитель для карманного приемника.
Схема усилителя обладает высокой экономичностью. Выходная мощность усилителя 100 мВт.
Источник: В.М. Большов, Радиолюбительские усилители низкой частоты, МРБ, 1961, Вып. 422, стр. 94-95.
Самодельный усилитель на транзисторах для патефона. А.М. Нефедов.
Экономичный усилитель с четырьмя транзисторами.
Источник: Книга сельского радиолюбителя. Изд. ДОСААФ, 1961, стр. 321-323.
Усилитель на полупроводниковых триодах. 3. Громачевская, В. Мунин, В. Соколов.
Предназначен для воспроизведения грамзаписи. Первый его каскад работает на полупроводниковом триоде с заземленным эмиттером. Выходной каскад двухтактный. Выпрямитель собран по двухполупериодной схеме с полупроводниковыми диодами типа ДГ-Ц24.
Источник: "Радио", 1957, 5, 53-55.
Полупроводниковые усилители мощности класса В с низковольтными источниками питания. А. Горбатов.
Рассматриваются различные схемы усилителей класса В.
Источник: "Радио", 1959, 9, 46-48.
Бестрансформаторные усилители на полупроводниковых триодах. Я. Левин, Е. Воронин.
Рассматриваются преимущества и недостатки бестрансформаторного усилителя и даются описания двух усилителей без выходного трансформатора. Схема одного из них, предназначенного для переносного приемника, показана на рис. 65.
Источник:
1. "Радио", 1959, 9, 43-45.
2. В.М. Большов, Радиолюбительские усилители низкой частоты, МРБ, 1961. Вып. 422. стр. 95-97.
Бестрансформаторные усилители на полупроводниковых триодах. Я. Левин, Е. Воронин.
Рассматриваются преимущества и недостатки бестрансформаторного усилителя и даются описания двух усилителей без выходного трансформатора. Схема одного из них, предназначенного для переносного приемника, показана на рис. 65.
Источник:
1. "Радио", 1959, 9, 43-45.
2. В.М. Большов, Радиолюбительские усилители низкой частоты, МРБ, 1961, Вып. 422. стр. 95-97.
Усилитель НЧ на полупроводниковых триодах. Л. Кошевой.
Предназначен для воспроизведения грамзаписи или работы с динамическим микрофоном. Усилитель состоит из оконечного и предоконечного каскадов и двух каскадов предварительного усиления. Транзисторы: П13Б, П1ЗА, П201А, П4Б (2 шт.). Номинальная выходная мощность 10 Вт при входном напряжении 5 мВ.
Источник:
1. "Радио", 1959, 8, 44-45.
2. В. М. Большое, Радиолюбительские усилители низкой частоты, МРБ, 1961, Вып. 422, стр. 105-107.
Усилитель с p-n-p и n-p-n транзисторами.
В схеме усилителя используются транзисторы П9 (1 шт.) и П14 (5 шт.). (Выходная мощность 250 мВт. Усилитель может работать на любой громкоговоритель с сопротивлением звуковой катушки 4 - 6 Ом.
Источник: В.М. Большов. Радиолюбительские усилители низкой частоты, МРБ, 1961, Вып. 422, стр.94-95.
Схемы усилителей низкой частоты на транзисторах для миниатюрных громкоговорителей.
Приведены практические схемы: усилителя для простых электромагнитных громкоговорителей с тремя транзисторами П13А, усилителя для дифференциальных электромагнитных громкоговорителей с тремя транзисторами П13А (схема на рис. 66) для электродинамических и пьезоэлектрических громкоговорителей и усилителя на транзисторах с разными типами проводимости. Соединение транзисторов с различными типами проводимости позволяет собрать каскад с высоким входным и очень низким выходным сопротивлениями. Поэтому он может работать непосредственно на звуковую катушку громкоговорителя с сопротивлением 3 - 8 Ом. Кроме того, описана схема трехкаскадного усилителя с автотрансформаторным выходом.
Источник: Б.В. Кольцов. Миниатюрные громкоговорители для приемников на транзисторах, МРБ, 1960, Вып. 361, стр. 40-46.
БАТАРЕЙНЫЕ
БАТАРЕЙНЫЕ СУПЕРГЕТЕРОДИНЫ
Самодельный батарейный супергетеродин.
Описание трехдиапазонного, трехлампового (1А1П, 1К1П, 2П1П) приемника.
Источник: В. Г. Борисов, Юный радиолюбитель, МРБ, Вып. 330, 1959, стр. 204-205.
Походный супергетеродин. Н. Горюнов.
Описание трехлампового (1А1П, 1Б1П, 2П1П|) приемника, выполненного на базе приемника прямого усиления, описанного и № 4 журнала "Радио" за 1958 г. на стр. 29.
Источник: "Радио", 1958, 5, 33-34 и на вкладке.
Батарейный супергетеродин. С. Воробьев.
Описание трехдиапазонного (730 - 2000, 200 - 575 и 17,5 - 60 м) четырехлампового (1А1П, 1К1П, 1Б1П, 2П1П) приемника. Питание производится от батареи накала напряжением 1,2 В и от анодной батареи напряжением 80 В.
Источник: В помощь радиолюбителю, Изд. ДОСААФ, 1958, вып. 6. стр. 32—41.
Четырехламповый супергетеродин. А. Нефедов.
Подробное описание переносного приемника с универсальным питанием, работающего на рамочную антенну.
Диапазоны: 750 - 2000, 200 - 600 и 25-76 м.
Лампы: 1А1П (преобразователь), 1К1П (усилитель промежуточной частоты), 1Б1П (детектор, АРУ и усилитель низкой частоты) и 2П1П (усилитель мощности).
Питание осуществляется как от сухих батарей, так и от сети переменного тока с помощью селенового выпрямителя. Вес передвижки 3 кг.
Источник: Книга сельского радиолюбителя, Изд. ДОСААФ, 1961. стр. 176-181.
Четырехламповый батарейный супергетеродин. Л. Лукьянов, Л. Ломакин, В. Морозов.
Описание батарейного варианта сетевых приемников, описанных в статье "Три простых супергетеродина". В приемнике используются лампы 1А2П, 1Ж2П, 1Б2П, 2П2П.
Приемник питается от одной анодной батареи БАС-6О и одной накальной ЗС-Л30.
Источник: "Радио", I960, 8, 36-39.
Переносный приемник. В. Казанцев.
Четырехламповый шестидиапазанный супергетеродин (отмечен премией на 12-й BPB). Диапазоны: 800-1950, 200-550 и четыре растянутых коротковолновых 25, 31, 40 и 49 м.
Настройка на станций осуществляется с помощью подвижных ферромагнитных сердечников.
Лампы: 1А1П, 1К1П, 1Б1П и 2П1П. По промежуточной частоте (465 кГц) применена положительная обратная связь.
Источники питания: щелочной аккумулятор НКН-10, батарея БАС-Г-60. Продолжительность работы батареи 130 ч, аккумулятора - 30 ч.
Источник: Лучшие конструкции 12-й радиовыставки, Изд. ДОСААФ, 1957, стр. 128-134.
Радиоприемник-передвижка.
Батарейный малогабаритный пятиламповый супергетеродин конструкции В.М. Маркарьяна. Диапазоны: 750-2000, 185-550 и 16-50 м. Лампы: 1А1П, 1К1П, 1К1П, 1Б1П и 2П1П. Приемник снабжен малогабаритным выпрямителем, что позволяет питать приемник также от сети переменного тока.
Источник: Лучшие конструкции 12-й радиовыставки. Изд. ДОСААФ, 1957, стр. 135—140,
СЕТЕВЫЕ ПРИЕМНИКИ ПРЯМОГО
СЕТЕВЫЕ ПРИЕМНИКИ ПРЯМОГО УСИЛЕНИЯ
Приемник-радиоточка.
Подробное описание простого однолампового радиоприемника (рис. 28), имеющего детекторный каскад и один каскад усиления низкой частоты. Приемник позволяет принимать на громкоговоритель три радиостанции, наиболее громко слышимые в той местности, где проживает радиолюбитель.
Дается подробное описание изготовления контурных катушек и других деталей. Приводится монтажная схема и подробное описание порядка сборки и налаживания приемника. Питание приемника осуществляется от полупроводникового выпрямителя.
Источник: В.М. Большов и Ю.М. Большов, Простые конструкции начинающего радиолюбителя, МРБ, 1959, Вып. 346, стр. 10-36.
Одноламповый двухкаскадный приемник.
Приемник по схеме 0-V-1 с лампой 6Н7С рассчитан на прием местных станций в диапазонах длинных и средних волн на динамический громкоговоритель. Настройка осуществляется вариометром. Приемник может работать без переделки и с питанием от батарей. Тогда используется лампа СО-243.
Источник: Схемы сетевых радиолюбительских приемников, МРБ, Вып. 369, 1960, стр. 14-16.
Одноламповый трехкаскадный приемник.
Рассчитан на прием трех радиостанций в диапазоне длинных и средних волн. В нем применена лампа 6Б8С, пентодная часть которой используется одновременно для усиления высокой и низкой частоты, а диодная часть - для детектирования.
Источник: Схемы сетевых радиолюбительских приемников, МРБ, Вып. 369, 1960, стр. 16-18.
Одноламповый приемник с обратной связью.
Приемник прямого усиления с лампой 6Ж7 для приема длинных и средних волн. Плавная настройка осуществляется конденсатором переменной емкости. Приводится вариант этого приемника с анодным детектированием.
Источник: Схемы сетевых радиолюбительских приемников, МРБ, Вып. 369, 1960, стр. 7-9.
Приемник на лампе 6Н7С.
Приемник по схеме 0-V-1, работающий в диапазонах 700 - 1900 и 200 - 500 м.
Источник: Схемы сетевых радиолюбительских приемников, МРБ, Вып. 369, I960, стр. 9-10.
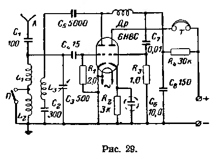
Приемник на лампе 6Н8С.
Собран по схеме (рис. 29) для диапазонов длинных и средних волн. Может работать с маломощным громкоговорителем 1ГДМ-1.
Источник: Схемы сетевых радиолюбительских приемников, МРБ, Вып. 369, 1960, стр. 10-11.
Одноламповый приемник с селеновым выпрямителем.
Приемник собран по схеме 0-V-1 с двойным триодом 6Н7С.
Диапазоны: 700 - 2000 и 200 - 600 м.
Источник: Схемы сетевых радиолюбительских приемников, МРБ, Вып. 369. 1960, стр. 11-13.
Приемник-радиоточка.
Приемник прямого усиления с лампой 6Н8С. Рассчитан на прием трех радиостанций в диапазонах длинных и средних волн. Прием осуществляется на громкоговоритель.
Источник: Схемы сетевых радиолюбительских приемников, МРБ, Вып. 369, 1960, стр. 13-14.
Двухламповый приемник с вариометром.
Двухдиапазонный приемник (ДВ и СВ) по схеме 0-V-1 (рис. 30). Приводится подробное описание вариометра.
Источник: В.М. Большов и Ю.М. Большов, Простые конструкции начинающего радиолюбителя, МРБ, Вып. 346,1959, стр. 37-45.
Двухламповый приемник для местного приема.
Подробное описание приемника, рассчитанного на прием пяти радиостанций в диапазоне длинных и средних волн. Лампы: 6Ж7 и 6Ф6С. Фиксированная настройка осуществляется магнетитовыми сердечниками.
Источник: Схемы сетевых радиолюбительских приемников, МРБ, Вып. 369, 1960, стр. 18-22.
Двухламповый приемник начинающего радиолюбителя.
Приемник по схеме 0-V-1 с лампами 6Ж8 и 6П6С (рис. 31). Настройка осуществляется вариометром. Диапазоны: 650 - 2000 и 200 - 500 м. Выпрямитель с кенотроном 5Ц4С.
Источник: Схемы сетевых радиолюбительских приемников, МРБ,. Вып. 369, 1960, стр. 22-24.
Простой двухламповый приемник.
Приемник типа 0-V-1 с лампами 6Ж8 и 6П6С. Диапазоны: 750 - 2000 и 200 - 550 м. Выпрямитель с кенотроном 5Ц4С.
Источник: Схемы сетевых радиолюбительских приемников, МРБ, Вып. 369, 1960, стр. 24-27.
Двухламповый сетевой приемник. С. Николаев.
Приемник прямого усиления. Предназначен для приема средних и длинных волн. Лампы: 6Н2Пи 6П44П.
Источник: Приемники и усилители, Б-ка журнала "Радио", Вып. 5, Изд. ДОСААФ, 1959, стр. 28-32.
Двухламповый приемник с вариометром.
Собран по схеме 0-V-1 (средние и длинные волны), в которой перекрытие диапазона осуществляется вариометром.
Лампы: 6К4П и 6П14П. Питание приемника производится от выпрямителя, собранного по однополупериодной схеме с полупроводниковыми диодами.
Источник: В.М. Большов и Ю.М. Большов, Простые конструкции начинающего радиолюбителя, МРБ, 1959, Вып. 346, стр. 37-45.
Двухламповый приемник с вариометром.
Приемник с лампами 6Ж7 и 6П6С. Рассчитан да работу в двух диапазонах волн (длинные и средние). Настройка производится вариометром, устройство которого приводится в описании. Выпрямитель с кенотроном 6Ц5С.
Источник: Схемы сетевых радиолюбительских приемников, МРБ, Вып. 369, I960, стр. 27-29.
Приемник на лампах 6Ж7 и 6П9.
Приемник работает в диапазоне длинных и средних волн. Выходная лампа позволяет получить громкий прием местных и мощных дальних радиостанций на динамический громкоговоритель мощностью 0,5 Вт. Схема показана на рис. 32.
Источник: Схемы сетевых радиолюбительских приемников, МРБ, Вып. 369, 1960, стр. 29-30.
Самодельные сетевые приемники.
Описание трех радиоприемников прямого усиления: 0-V-1 с лампами 6Ж8 и 6С5С, однолампового 0-V-1 с двойным триодом 6Н8С или 6Н9С и трехлампового H-V-1 (2 лампы 6ЖЗП и 6П1Ц) с обратной связью.
Все приемники рассчитаны на прием радиостанций в диапазонах ДВ и СВ. Питание осуществляется от выпрямителей.
Источник: В.Г. Борисов, Юный радиолюбитель, МРБ, Вып. 330, 1959, стр. 166-168 и 169-175.
Двухламповый трехкаскадный приемник.
Описание двухдиапазонного приемника по схеме 0-V-2 с лампами 6Н9С и 6П6С.
Источник: Схемы сетевых радиолюбительских приемников, МРБ, Вып. 369, 1960, стр. 30-31.
Трехламповый трехкаскадный приемник.
Описание двухдиапазонного (733 - 2000 и 187 - 578 м) приемника с лампами 6К7, 6Ж7 и 6П6С.
Источник: Схемы сетевых радиолюбительских приемников, МРБ, Вып. 369, 1960, стр. 31-34.
Трехламповый приемник с фиксированной настройкой.
Описание приемника по схеме 1-V-2 с лампами 6К7, 6Б8С и 6П6С (рис. 33). Фиксированные настройки на волны 1734, 1141, 547 и 344 м.
Источник: Схемы сетевых радиолюбительских приемников, МРБ, Вып. 369, 1960, стр. 34-37.
Трехламповый приемник для местного приема.
Двухдиапазонный приемник по схеме 1-V-2 с лампами 6К4, 6Б8С и 6ПЗС.
Источник: Схемы сетевых радиолюбительских приемников, МРБ, 1960. Вып. 369, стр. 37-40.
Трехламповый четырехкаскадный приемник.
Двухдиапазонный (720 - 2000 и 250 - 600 м) приемник по схеме 1-V-2 с лампами 6КЗ, 6Н8С и 6П6С. Выпрямитель селеновый.
Источник: Схемы сетевых радиолюбительских приемников. МРБ, 1960, Вып. 369, стр. 40-43.
Трехламповый приемник.
Приемник прямого усиления по схеме 1-V-2, рассчитанный для приема радиостанций, работающих в диапазонах 1150 - 430 кГц (2000 - 800 м) и 545 - 1500 кГц (550 - 200 м).
Лампы: 6К4П, 6Н2П и 6П14П. Выпрямитель полупроводниковый с четырьмя полупроводниковыми диодами типа Д7Ж, собранными по мостовой схеме. Выходная мощность 2 Вт. В приемнике предусмотрена возможность включения звукоснимателя. Все детали приемника - заводские, за исключением катушек и шасси, описанию изготовления которых отведено значительное место.
Источник:
1. В.М. Большов и Ю.М. Большов, Простые конструкции начинающего радиолюбителя, МРБ. 1959, Вып. 346, стр. 45-56.
2. Книга сельского радиолюбителя, Изд. ДОСААФ, 1961, стр. 181-188.
Сетевой приемник 1-V-1. С. Воробьев.
Рассчитан на работу в диапазонах 730 - 2000 и 200 - 575 м. Лампы 6К3, 6Ж8 и 6П6С. Выпрямитель на кенотроне 6Ц5С.
Источник: В помощь радиолюбителю. Изд. ДОСААФ, 1957, Вып. 2, стр. 3-12.
Простой сетевой приемник. А. Нефедов, Б. Демьяновский.
Приемник прямого усиления. Собран по схеме 1-V-1. Лампы: 6Ж3П, 6Ж3П, 6П14П.
Диапазоны: длинноволновый и средневолновый. Питание приемника осуществляется от выпрямителя, собранного на полупроводниковых диодах или селеновом столбике.
Источник: Приложение для начинающих №3 к журналу "Радио" за 1957 г., стр. 3-10.
УСИЛИТЕЛИ ДЛЯ
УСИЛИТЕЛИ ДЛЯ МАГНИТОФОНОВ
Усилитель для магнитофона. В. Большое.
Подробное описание схемы (рис. 67) и конструкции усилителя, три лампы которого (6Н2П, 6Н1П и 6П14П) используются непосредственно для усиления и в генераторе ВЧ подмагничивания и стирания, а четвертая (6Е5С) служит индикатором уровня сигнала при записи. Переключение усилителя с записи иа воспроизведение осуществляется с помощью двух реле, обмотки которых питаются анодным током выходной лампы усилителя воспроизведения. Выходная мощность усилителя равна 2 т.
Источник:
1. "Радио", 1960, 6, 53—56.
2. "Радио", 1961, 6, 61 (Консультация).
3. В.М. Большое, Радиолюбительские усилители низкой частоты, МРБ, 1961, Вып. 422, стр. 82-87.
Усилительная приставка для магнитной записи. Ю. Кушелев.
Описание простой одноламповой приставки. При наличии лентопротяжного механизма и радиоприемника приставка позволяет производить запись с микрофона, звукоснимателя и приемника. Соединяется приставка с приемником с помощью переходной колодки.
Источник: Ф.И. Тарасов, Схемы радиолюбительских усилителей низкой частоты, МРБ, 1957, Вып. 264, стр. 6-7.
Усилитель для магнитофона на полупроводниковых приборах.
Универсальный усилитель, работает как при записи, так и при воспроизведении. В схеме используется восемь транзисторов. Выходная мощность усилителя порядка 0,25 Вт. Коэффициент нелинейных искажений 12%; полоса пропускания 150 - 4000 Гц.
Источник: А. Козырев и М. Фабрик, Конструирование любительских магнитофонов, Изд. ДОСААФ, 1959, стр. 184-186.
Усилитель на полупроводниковых триодах для переносного магнитофона.
Описание усилителя к магнитофону А. Козырева и М. Фабрик. Усилитель предназначен для записи и воспроизведения речи и содержит вместе с высокочастотным генератором восемь транзисторов. При работе от электродинамического микрофона выходная мощность усилителя получается порядка 0,24 Вт при коэффициенте гармоник не более 12%. Полоса пропускаемых частот 200 - 2500 Гц. Для питания усилителя и генератора используются батареи типов КБС-Л-0,5 (от карманного фонаря) и БАС-7-60. Обе батареи обеспечивают работу усилителя примерно в течение 100 ч.
Источник: Ф.И. Тарасов, Схемы радиолюбительских усилителей низкой частоты, МРБ, 1957. Вып. 264, стр. 58-61.
СЕТЕВЫЕ
СЕТЕВЫЕ СУПЕРГЕТЕРОДИНЫ
Малоламповые радиоприемники. Г. Давыдов, С. Сергеев.
Описание двух простейших супергетеродинных приемников: однолампового с лампой 6И1П и двухлампового с лампами бИ1П и 6П14П. В брошюре МРБ приводится описание только двухлампового приемника. Его диапазоны: средневолновый (187-578 м) и длинноволновый (750-2000 м).
Источник:
1. "Радио", 1958, 4, 34-37.
2. Схемы сетевых радиолюбительских приемников, МРБ, 1960, Вып. 369, стр. 46-50.
Двухламповый супергетеродин РЛ-4.
Приемник имеет один непрерывный диапазон от 300 до 2000 м, а также полурастянутые диапазоны на 25, 31 и 42 м. Высокая промежуточная частота (1900 кГц) способствует снижению помех и позволяет объединить два диапазона (схема на рис. 34). Прием ведется на телефонные наушники. Конструктор Б.Н. Хитров.
В качестве кенотрона применена лампа 6К7.
Источник: Схемы сетевых радиолюбительских приемников, МРБ, 1960, Вып. 369, стр. 50-53.
Двухламповый супергетеродин для местного приема.
Приемник с лампами 6А8 (преобразователь) и 6Н7С (сеточный детектор и оконечный каскад низкой частоты). Настройки, фиксированные на три радиостанции центрального вещания, работающие в диапазоне длинных и средних волн.
Источник: Схемы сетевых радиолюбительских приемников. МРБ, 1960, Вып. 369, стр. 44-46.
Двухламповый супергетеродин.
Приемник (рис. 35) имеет один диапазон, включающий в себя средние и длинные волны от 250 до 1850 м. Это достигнуто применением высокой промежуточной частоты (1700 кГц). Радиоприемник питается от полупроводникового выпрямителя, собранного на отдельном шасси.
В приемнике используются лампы 6И1П (преобразователь частоты) и 6К4П (сеточный детектор).
Источник: В.М. Большов и Ю.М. Большов, Простые конструкции начинающего радиолюбителя, МРБ, 1959, Вып. 346, стр. 56-62.
Трехламповый супергетеродин РЛ-3.
В приемнике три фиксированные настройки на длинных и средних волнах и три растянутых коротковолновых диапазона на 19, 25 и 31 м. Конструктор Б.Н. Хитров.
Лампы: 6А8 (преобразователь), 6К7 (сеточный детектор с обратной связью) и 6Ф6С (выходной каскад).
Источник: Схемы сетевых радиолюбительских приемников, МРБ, 1960, Вып., 369, стр. 57-50.
Трехламповый супергетеродин с лампой 6П9.
Описание двухдиапазонного (720 - 2000 и 187 - 576 м) приемника с лампами 6А7 (преобразователь), 6Б8С (усилитель промежуточной частоты и диодный детектор)) и 6П9 (усилитель низкой частоты).
Источник: Схемы сетевых радиолюбительских приемников, МРБ, I960, Вып. 369, стр. 61-63.
Трехламповый четырехкаскадный супергетеродин.
Двухдиапазонный приемник с лампами 6А8 (преобразователь), 6А8 (усилитель промежуточной и низкой частоты) и 6П6С (выходной каскад). Вместо лампового детектора используется полупроводниковый диод типа ДГ-Ц1.
Источник: Схемы сетевых радиолюбительских приемников, МРБ, 1960, Вып. 369. стр. 65-70.
Трехламповый супергетеродин. Г. Давыдов, С. Сергеев.
Описание сетевого приемника (схема на рис. 36), работающего в диапазонах 2000 - 750, 578 - 187 и 65 - 18 м. Лампы: 6И1П (2 шт.) и 6П14П. Выходная мощность 2 Вт.
Источник:
1. "Радио", 1958, 9, 43-44.
2. "Радио", 1959, 6, 62 (замена клавишного переключателя галетным).
3. Схемы сетевых радиолюбительских приемников, МРБ, 1960, Вып. 369, стр. 53-55.
4. Книга сельского радиолюбителя. Изд. ДОСААФ, 1961. стр. 188-191.
Самодельный сетевой супергетеродин.
Простой трехламповый (6А2П, 6ЖЗП и 6П1П) приемник. Диапазоны: 25 - 60, 200 - 550 и 700 - 000 м. Выпрямитель двухполупериодный с кенотроном 5Ц4С.
Источник: В.Г. Борисов, Юный радиолюбитель, МРБ, 1959, Вып. 330, стр. 201-203.
Супергетеродин на новых лампах. Р. Сворень и В. Большов.
Трехламповый приемник, параметры которого соответствуют промышленным приемникам второго класса. Диапазоны: 750 - 2000, 187 - 578 и 16 - 49 м.
Для удобства настройки в приемнике используются сменные шкалы, меняющиеся автоматически при переключении диапазонов. На коротких волнах осуществляется электрическая "растяжка" любого участка диапазона.
В схеме используются лампы: 6И1П (преобразователь), 6И1П (усилитель ПЧ и предварительный каскад усилителя НЧ), 6П14П (выходной каскад), ДГ-Ц4 (детектор и выпрямитель АРУ).
Усилитель НЧ охвачен отрицательной обратной связью. Выпрямитель анодного напряжения выполнен на четырех полупроводниковых диодах ДГ-Ц26 по мостовой схеме.
Источник: "Радио", 1957, 1, 38-40.
Супергетеродин РЛ-1. Б. Н. Xитров.
Подробное описание (с монтажной схемой) четырехлампового приемника (рис. 37), получившего большое распространение благодаря сочетанию простой конструкции с хорошо продуманной схемой. Рассчитан на прием радиовещательных станций в диапазонах длинных (750 - 2000 м), средних (206 - 550 м) и коротких (16 - 50 м) волн. Лампы: 6А8 (преобразователь), 6К7 (усилитель промежуточной частоты), 6Г7 (детектор, АРУ и усилитель напряжения) и 6Ф6С (выходная). Внешний вид приемника показан на рис. 37,а.
Источник:
1. И.И. Спижевский и В.А. Бурлянд, Хрестоматия радиолюбителя, Изд. 2-е, МРБ, 1957, Вып. 283, стр. 190-194.
2. Схемы сетевых радиолюбительских приемников, МРБ, 1960, Вып. 369, стр. 74-79.
Простой четырехламповый супергетеродин.
Приемник работает в диапазонах 700 - 2000, 250 - 500 и 25 - 60 м.
Лампы: 6А8 (преобразователь), 6КЗ (усилитель промежуточной частоты), 6Г7 (детектор, АРУ и предварительный усилитель низкой частоты) и 6П6С (выходной каскад).
Источник: Схемы сетевых радиолюбительских приемников, МРБ, 1960, Вып. 369, стр. 70-72.
Четырехламповый супергетеродин.
Приемник с диапазонами 750 - 2000, 1190 - 680 и 19 - 65 м.
Лампы: 6А7 (преобразователь), 6КЗ (усилитель промежуточной частоты), 6Г2 (детектор, АРУ и предварительный усилитель низкой частоты) и 6П6С (выходной каскад).
Источник: Схемы сетевых радиолюбительских приемников, МРБ. 1960, Вып. 369, стр. 72-74.
Четырехламповый супергетеродин с обратной связью.
Описание приемника, работающего в диапазонах 741 - 2000, 200 - 560 и 16 - 50 м с лампами 6А8 (преобразователь), 6К7 (усилитель промежуточной частоты), 6Ф5 (сеточный детектор) и 6Ф6С (выходной каскад).
Источник: Схемы сетевых радиолюбительских приемников, МРБ, 1960, Вып. 369, стр. 78-79.
Три простых супергетеродина. Л. Лукьянова, Л. Ломакин, В. Морозов.
Описаны схемы, конструкции и налаживание четырехламловых трехдиапазонных супергетеродинов (420 - 150, 1600 - 520 кГц а 12,5 - 4 МГц).
Первый приемник с пальчиковыми лампами 6И1П, 6К4П, 6ЖШ и 6П1П. Во втором приемнике используются лампы 6А7, 6КЗ, 6Ж7, 6П6С.
Приемники могут быть использованы для воспроизведения грамзаписи.
Третий приемник - батарейный. Аннотация о нем помещена в разделе батарейных супергетеродинов.
Источник: "Радио", 1960, 8, 36-39.
Шаг за шагом. (От детекторного приемника до супергетеродина). Р. Сворень.
В цикле статей для начинающих радиолюбителей, знакомящих с основами радиотехники, помещенных в семи номерах (5, 6, 7, 9, 10, 11 и 12) журнала "Радио" за 1959 г., имеется списание практической схемы и конструкции пятилампового супергетеродина (лампы: 6И1П, 6К1П, 6Ж1П, 6П1П и 5Ц4С).
Источник:
1. "Радио", 1959, 9, и 3-я страница обложки.
2. "Радио", 1959, 12, 42-46 и 3-я страница обложки. На стр. 43 в правой колонке на 10-й строке сверху приведены данные катушки L9, а на 16-й строке сверху - данные катушек L8 и L10.
Пятиламповый супергетеродин РЛ-7.
Диапазоны 700 - 2000, 200 - 550 и 15 - 50 м. Лампы: 6А7 (смеситель), 6С2С (гетеродин), 6К7 (усилитель промежуточной частоты), 6Ж7 (сеточный детектор с обратной связью) и 6П3С (выходная).
Источник: Схемы сетевых радиолюбительских приемников, МРБ, 1960, Вып. 369, стр. 85-87.
Любительский сетевой приемник с УКВ диапазоном.
Рассчитан на прием радиовещательных станций в диапазонах длинных (725 - 2000 м), средних (188 - 580 м) и ультракоротких (4,56 - 4,12 м) волн. Номинальная выходная мощность приемника составляет 1 Вт.
Диодный детектор и детектор отношений выполнены на трех полупроводниковых диодах. Оба каскада усилителя низкой частоты охвачены отрицательной обратной связью. Выпрямитель приемника двухполупериодный с кенотроном 6Ц4С.
Лампы: 6Ж4 или 6НЗП, 6А7, 6К4, 6Н9С, две 6П6С и 6Е5С.
В приемнике применена простейшая система объемного звучания, состоящая из трех динамических громкоговорителей. Основное внимание в описании уделено вопросам построения частотно-модулированного тракта.
Источник:
1. Л.А. Штейерт, Любительский сетевой приемник с УКВ диапазоном, МРБ, 1957, Вып. 270, стр. 16.
2. Схемы сетевых радиолюбительских приемников, МРБ, 1960, Вып. 369, стр. 92-111.
Простой супергетеродин. С. Воробьев.
Подробное описание пятилампового трехдиапазояного (700 - 2000, 200 - 570 и 19 - 50 м) приемника с выходной мощностью 1,5 Вт.
Лампы: 6А7, 6К3, 6Г2, 6П6С и 6Е5С.
В приемнике применена АРУ с задержкой. Выпрямитель двухполупериодный на кенотроне 5Ц4С.
Источник: В помощь радиолюбитепю, Вып. 3, Изд. ДОСААФ, 1957, стр. 3-15.
Простой пятиламповыи супергетеродин.
Диапазоны 750 - 2000, 200 - 500 и 19 - 50 м. Лампы: 6А7 (преобразователь), 6КЗ (усилитель промежуточной частоты), 6Г2 (детектор, АРУ и предварительный усилитель низкой частоты), 6П6С (выходной каскад), 6Е5С (индикатор настройки).
Источник: Схемы сетевых радиолюбительских приемников, МРБ, 1960, Вып. 369, стр. 80-83.
Пятиламповыи приемник.
Приемник по схеме 1-V-3 для приема трех радиостанций центрального вещания (схема на рис. 38), работающих в диапазонах длинных и средних волн. Лампы: 6К7, 6Х6С (диодный детектор и АРУ) и три каскада усиления низкой частоты: 6Ж7, 6С2С и 6П6С.
Источник: Схемы сетевых радиолюбительских приемников, МРБ, 1960, Вып. 369, стр. 43-44.
Пятиламповый супергетеродин.
Диапазоны: 700 - 2000, 200 - 560 и 16 - 50 м. Лампы: 6А8, 6К7, 6Г7, 6Ф6С и 6Е5С. Кенотрон 5Ц4С.
Источник: Схемы сетевых радиолюбительских приемников, МРБ, 1960, Вып. 369, стр. 83-85.
Простой супергетеродин с повышенной чувствительностью. Б. Графов.
Описание пятилампового
(6И1П, 5К4П, 5ЖЗП, 6П14П, 6E5С) приемника, рассчитанного на прием в диапазонах 150 - 410, 540 - 1550 кГц и 5,4 - 17,6 МГц. Выходная мощность 2 Вт.
Источник:
1. "Радио", 1958, 9, 50-52.
2. "Радио", 1958, 11,64 (справка).
3. Схемы сетевых радиолюбительских приемников, МРБ, 1960, Вып. 369, стр. 63-65.
Шестиламповый супергетеродин РЛ-6.
Диапазоны: ДВ, СВ и КВ. В приемнике применяются отдельный гетеродин, два каскада усиления ПЧ с эффективной схемой АРУ, растянутые диапазоны на KB и переключение на прямое усиление для приема местных радиостанций.
Источник: Описание этого приемника впервые помещено было в журнале "Радио" № 11 за 1947 г.
Схемы сетевых радиолюбительских приемников, МРБ, 1960, Вып. 369, стр. 87-92.
Всеволновый любительский радиоприемник. В.В. Коробовкин, А.М. Нефедов.
Семиламповый супергетеродин для приема длинных (723 - 2000 м), средних (187 - 577 м) и коротких (16 - 50 м) волн, а также радиовещательных станций с частотной модуляцией в УКВ диапазоне (64 - 74 МГц). Промежуточная частота в УКВ диапазоне 8,4 МГц, а в остальных - 465 кГц. Лампы 6Н3П, 6А7, 6К4, 6Н9С, 6П6С, 6П6С и 6Е5С (оптический индикатор настройки). Выпрямитель двухполупериодный с кенотроном 5Ц4С.
Кроме ламп, в приемнике используются четыре полупроводниковых диода (ДГ-Ц4) для детектирования сигнала АРУ. В приемнике применена простейшая система объемного звучания из трех динамических громкоговорителей (одного - для низших и двух - для высших частот). Номинальная выходная .мощность приемника составляет 2 Вт. Потребляемая приемником мощность от сети 70 Вт.
Особое внимание уделено описанию конструкции и методике налаживания УКВ блока с индуктивной настройкой.
Предлагается вариант этого блока с настройкой конденсаторами переменной емкости.
Источник: В.В. Коробовкин и А.М. Нефедов, Всеволновый любительский радиоприемник, МРБ, 1957, Вып. 280, стр. 32,
ВЫСОКОКАЧЕСТВЕННЫЕ
ВЫСОКОКАЧЕСТВЕННЫЕ ДВУХКАНАЛЬНЫЕ И СТЕРЕОФОНИЧЕСКИЕ УСИЛИТЕЛИ
Высококачественный усилитель низкой частоты на 8 Вт. A. Кузьменко.
Улучшение качества работы усилителя достигнуто посредством введения нескольких цепей отрицательной обратной связи, а также питанием экранирующих сеток выходного каскада от части (витков первичной обмотки выходного трансформатора. Схема усилителя показана на рис. 68. Усилитель рассчитан на питание от выпрямителя.
Источник:
1. "Радио", 1957, 5, 51-52.
2. В.М. Большов, Радиолюбительские усилители низкой частоты, МРБ, 1961, Вып. 422, стр. 53-56.
Высококачественный усилитель. В. Смирнов.
Описание схемы пятилампового противопараллельного мостикового усилителя, в схеме которого используются лампы 6Ж1П, 6Н1П - 2 шт. и 6П14П - 2 шт.
Источник:
1. "Радио", 1960, 9, 45-46.
2. "Радио", 1961, 6, 61 (Число витков средних секций выходного автотрансформатора для громкоговорителя со звуковой катушкой 16 Ом).
Двухканальный усилитель. B. Мощаков.
Построен на базе схемы заводского усилителя НЧ радиокомбайна "Кристалл-104" с пятью лампами: 6Н2П (2 шт.) и 6П4П (3 шт.). Имеется монтажная схема.
Источник: "Радио", 1961, 5, 34-36.
Усилитель НЧ. В. Смирнов, В. Фурин.
Усилитель на пяти лампах (6Н1П, 6Ж3П, 6П1П, 6П14П - 2 шт.) в сочетании с высококачественным акустическим агрегатом может быть использован в приемнике, телевизоре, магнитофоне или в комбинированной любительской установке, включающей эти элементы. Усилитель развивает мощность 12 Вт.
Источник:
1. "Радио", 1958, 4, 26-28.
2. "Радио", 1958, 6, 63 (Режимы ламп усилителя).
3. В.М. Большов, Радиолюбительские усилители низкой частоты, МРБ, 1961, Вып. 422, стр. 56-59.
Усилитель без выходного трансформатора. В. Саяпин, А. Тощев.
Восьмиламповый усилитель, рассчитан на работу с акустическим агрегатом, в котором применяются 16 громкоговорителей типа 1ГД-9, соединенных последовательно. Максимальная выходная мощность усилителя 20 Вт, потребляемая - 200 Вт.
Лампы: 6Н3П, 6Ж2П, 6Н1П, 6П6С (2 шт.), 6Н5С (3 шт.).
Источник: "Радио", 1958, 11, 45-47.
Усилитель низкой частоты с акустическим агрегатом. А. Пикерсгиль, А. Державец.
Установка предназначена для высококачественного воспроизведения музыкальных программ (полоса частот 40-14 000 Гц). Выходная мощность усилителя 20 Вт. Лампы: 6Н8С - 2 шт., 6Н7С, Г-807 - 2 шт., СГ4С - 2 шт. и 5Ц3С.
Источник: "Радио", 1958, 6, 37-39.
Высококачественный двухканальный усилитель для станционного электромузыкального инструмента.
Описаны 11-ламповый усилитель (схема на рис. 69) и отдельный к нему выпрямитель. Выходная мощность усилителя 30 Вт при коэффициенте нелинейных искажений на частоте 400 Гц меньше 0,5%. Полоса воспроизводимых частот составляет 30 - 15000 Гц. Разделение частот на каналы происходит на частоте 800 Гц. Усилитель с успехом может быть использован для воспроизведения магнитной и грамзаписи.
Источник: Л.Т. Вингрис и Ю.А. Скрин, Любительские конструкции многоголосных электромузыкальных инструментов, МРБ, 1961, Вып. 407, стр. 48-54.
Универсальный девятиламповый усилитель для переносного многоголосного электромузыкального инструмента.
Усилитель считается универсальным потому, что к нему можно одновременно подключить еще микрофон и электрогитару или другой адаптеризированный инструмент. Выходная мощность усилителя 25 Вт при коэффициенте нелинейных искажений менее 0,5% на частоте 400 Гц, полоса пропускания 30-15000 Гц. Вес усилителя вместе с акустическим агрегатом - около 10 кг.
Источник: Л.Т. Вингрис и Ю.А. Скрин, Любительские конструкции многоголосных электромузыкальных инструментов, МРБ, 1961, Вып. 407, стр. 42-48.
Высококачественный усилитель НЧ. Б. Хохлов.
Описаны схема и конструкция 6-ваттного усилителя, в схеме которого используются восемь транзисторов. Применение в оконечном каскаде последовательно-параллельной схемы с двумя транзисторами П201 позволяет обойтись без выходного трансформатора. Устройство состоит из блока усилителя, блока регулировки и стабилизированного выпрямителя.
Источник:
1. "Радио", 1960, 2, 27-29.
2. В.М. Большое, Радиолюбительские усилители низкой частоты, МРБ, 1961, Вып. 422, стр. 102-105.
Усилитель и акустический агрегат. А. Пикерсгиль.
Подробное описание 12-лампового двухканального усилителя с выходной мощностью 40 Вт и акустического агрегата из восьми громкоговорителей.
Источник:
1. "Радио", 1959, 8, 48-51.
2. "Радио", 1960, 1, 63 (Данные громкоговорителя).
Двухканальный усилитель НЧ. М. Ганзбург.
Четырехламповый (2 шт. 6Н2П и 2 шт. 6П14П) усилитель чувствительностью 120 мВ, полоса воспроизведения 60 - 15000 Гц. Минимальная выходная мощность низких частот 4 Вт, высших - 1,5 Вт.
Источник:
1. "Радио", 1958, 5, 49-50.
2. В.М. Большов, Радиолюбительские усилители низкой частоты, МРБ, 1961, вып. 422, стр. 70-73.
Два стереофонических усилителя.
Четырехламповый (2 шт. 6Н2П и 2 шт. 6П14П) и семиламповый (3 шт. 6Н2П и 4 шт. 6П14П) усилители. Оба усилителя двухканальные. В первом мощность каждого канала 3 Вт, а во втором - 8 Вт.
Источник: В.М. Большов, Радиолюбительские усилители низкой частоты, МРБ, 1961, Вып. 422, стр. 90-93.
Стереофонические усилители низкой частоты. Л. Кононович.
Рассматриваются основные особенности стереоусилителей и предъявляемые к ним требования. Дается практическая схема стереоусилителя высшего класса.
Источник: "Радио", 1960, 1, 47-50.